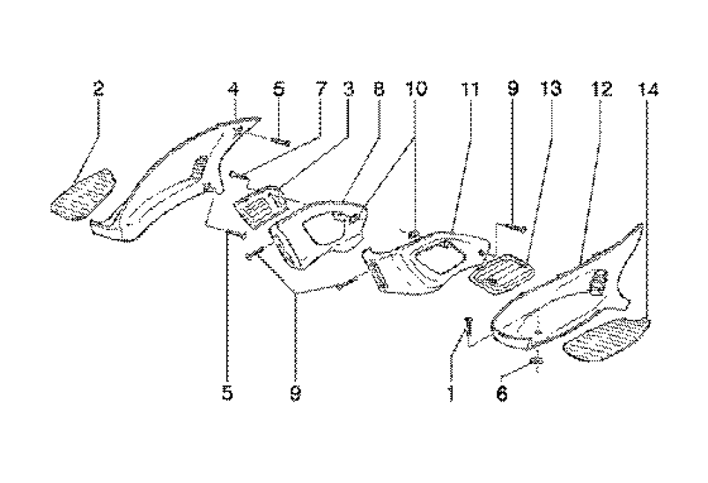
Gilera Runner 180 2T FXR E1 1998-2002 – Beplating4
Bijpassende producten
-
1.
Schraube Trittbrett m6x30mm Schwarz Piaggio Original
- 2.Niet leverbaar - Piaggio -
- 3.Niet leverbaar - Piaggio 298895000C
- 4.Niet leverbaar - Piaggio 298134000C
- 5.Niet leverbaar - Piaggio 297498
-
6.
Speednuss M6 Piaggio Original
- 7.Niet leverbaar - Piaggio CM178606
- 8.Niet leverbaar - Piaggio 2988930003
-
9.
Parker 4x13mm Piaggio Original
-
10.
Speednut Kap -Teile 10mm Piaggio / Vespa Original
- 11.Niet leverbaar - Piaggio 298892000G
-
12.
Trittbrett links schwarz Gilera Runner 2 Takt Original
-
12.
Treeplank Links Opaco Gilera Runner 2 Takt Origineel
-
13.
Heiznetz Gilera Läufer Black Links - Piaggio Original
-
14.
Trittbrettmatte Gilera Runner Links Schwarz Piaggio Original
×