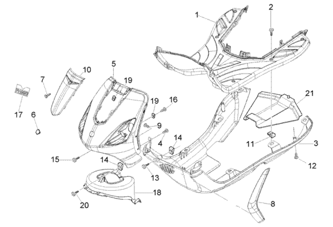
Schermata anteriore - Piaggio Piaggio Treeplank 50 2T E2 2004-2005 (EMEA)

- 1. Treesplank grigio
- 2. Bullone a testa croce+mammario m6x20
- 3. Spoiler Fly Pigment
- 4. Cross -header
- 5. Voorfront Blue 213/A
- 5. Voorfront Dragon Red 894
- 5. Voorfront Excalibur Grey 738/A
- 5. Voorfront Black 94
- 6. Emblema Piaggio di arresto Data 2006-03-31 (32 mm)
- 7. Cross -header
- 8. anteriore anteriore sinistro grigio
- 8. Vordsierlijst sul grigio destro
- 9. Cross -header
- 10. Corneus Blue 213/A
- 10. Chalibonneus excalibur grigio 738/a
- 10. Corneus rosso 894
- 10. Corneus Black 94
- 11. Speednut M6
- 12. Vite trasversale D3X16
- 13. Bullone a testa croce+Mamma M6X20
- 14. Speednut M6
- 15. Cross -header M6X16.
- 16. Cross -header St 4.2x13
- 17. Piaggio adesivo nero
- 18. FOLLA SCHERMI INTERNO
- 19. Speednut
- 20. Bullone a testa croce+Mammario M6X20
- 21. FOLLA PIASTO SPOILER